Product Summary
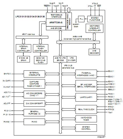
The LPC2138FBD64 microcontroller is based on a 32/16 bitARM7TDMI-S CPU with real-time emulation and embedded trace support, that combines the LPC2138FBD64 with 32 kB, 64 kB, 128 kB, 256 kB and 512 kB of embedded high speed Flash memory. Due to its tiny size and low power consumption, the LPC2138FBD64 is ideal for applications where miniaturization is a key requirement, such as access control and oint-of-sale.
Parametrics
LPC2138FBD64 absolute maximum ratings: (1) supply voltage, core and external rail, Vdd: -0.5V to 3.3V; (2) analog 3.3V pad supply voltage, Vdda: -0.5V to 4.6V; (3) RTC power supply voltage, Vbat: -0.5V to 4.6V; (4) A/D converter reference voltage, Vref: -0.5V to 4.6V; (5) analog input voltage on A/D related pins, Via: -0.5V to 5.1V; (6) DC input voltage, 5V tolerant I/O pins, Vi: -0.5V to 6.0V; (7) DC input voltage, other I/O pins, Vi: -0.5V 0.5V (Vdd+); (8) DC supply current per supply pin, Idd: 100mA; (9) DC ground current per ground pin: 100mA; (10) storage temperature, Tstg: -40°C to 125°C; (11) total power dissipation, Ptot(pack) : 1.5W (based on package heat transfer, not device power consumption) .
Features
LPC2138FBD64 features: (1) 16/32-bit ARM7TDMI-S microcontroller in a tiny LQFP64 package; (2) In-System/In-Application Programming (ISP/IAP) via on-chip boot-loader software,Single Flash sector or full chiper as ein 400ms and programming of 256 bytes in 1ms; (3) EmbeddedICE RT and Embedded Trace interfaces offer real-time debugging with the on-chip RealMonitor software and high speed tracing of instruction execution; (4) two 8 channel 10-bit A/D converters provides; (5) Single 10-bit D/A converter provides variable analog output; (6) wo 32-bit timers/external event counters (with four capture and four compare hannels each) , PWM unit (six outputs) and watchdog; (7) ow power Real-time clock with independent power and dedicated 32 kHz clock input; (8) Multiple serial interfaces including two UARTs(16C550) , two FastI C-bus(400kbit/s) SPI and SSP with buffering and variable data length capabilities; (8) Vectored interrupt controller with configurable priorities and vector addresses.
Diagrams

| Image | Part No | Mfg | Description | ![]() |
Pricing (USD) |
Quantity | ||||||||||||
|---|---|---|---|---|---|---|---|---|---|---|---|---|---|---|---|---|---|---|
![]() |
![]() LPC2138FBD64/01,11 |
![]() NXP Semiconductors |
![]() ARM Microcontrollers (MCU) 512K FL/32K RAM 10BIT ADC/DAC |
![]() Data Sheet |
![]()
|
|
||||||||||||
![]() |
![]() LPC2138FBD64/01,15 |
![]() NXP Semiconductors |
![]() ARM Microcontrollers (MCU) ARM7 512KF/32KR/ADC |
![]() Data Sheet |
![]()
|
|
||||||||||||
(China (Mainland))










