Product Summary
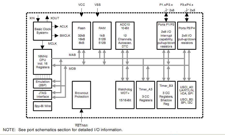
The Texas Instruments MSP430F2252IDAR of ultralow-power microcontroller consists of several devices featuring different sets of peripherals targeted for various applications. The MSP430F2252IDAR features a powerful 16-bit RISC CPU, 16-bit registers, and constant generators that contribute to maximum code efficiency. Typical applications of the MSP430F2252IDAR include sensor systems that capture analog signals, convert them to digital values, and then process the data for display or for transmission to a host system.
Parametrics
MSP430F2252IDAR absolute maximum ratings: (1) Voltage applied at Vcc to Vss : -0.3V to 4.1V; (2) Voltage applied to any pin: -0.3V to Vc to +0.3V; (3) Diode current at any device terminal: ±2mA; (4) Storage temperature range, Tstg: -55°C to 150°C; (5) Storage temperature range, Tstg: -40°C to 105°C.
Features
MSP430F2252IDAR featurs: (1) Low Supply Voltage Range 1.8V to 3.6V; (2) Ultralow-Power Consumption: Active Mode: 270 μA at 1 MHz, 2.2V, Standby Mode: 0.7 μA, Off Mode (RAM Retention): 0.1 μA; (3) Ultrafast Wake-Up From Standby Mode in Less Than 1 μs; (4) 6-Bit RISC Architecture, 62.5-ns Instruction Cycle Time; (5) High-Frequency Crystal up to 16 MHz; (6) External Digital Clock Source; (7) 10-Bit, 200-ksps A/D Converter With Internal Reference, Sample-and-Hold, Autoscan, and Data Transfer Controller; (8) Serial Onboard Programming, No External Programming Voltage Needed Programmable Code Protection by Security Fuse; (9) Bootstrap Loader; (10) Small-Outline Package (TSSOP) and 40-Pin QFN Package.
Diagrams

| Image | Part No | Mfg | Description | ![]() |
Pricing (USD) |
Quantity | ||||||||||||
|---|---|---|---|---|---|---|---|---|---|---|---|---|---|---|---|---|---|---|
![]() |
![]() MSP430F2252IDAR |
![]() Texas Instruments |
![]() 16-bit Microcontrollers (MCU) 16-bit Ultra-Lo-Pwr Microcontroller |
![]() Data Sheet |
![]()
|
|
||||||||||||
| Image | Part No | Mfg | Description | ![]() |
Pricing (USD) |
Quantity | ||||||||||||
![]() |
![]() MSP4120 |
![]() Other |
![]() |
![]() Data Sheet |
![]() Negotiable |
|
||||||||||||
![]() |
![]() MSP4200 |
![]() Other |
![]() |
![]() Data Sheet |
![]() Negotiable |
|
||||||||||||
![]() |
![]() MSP430×11× |
![]() Other |
![]() |
![]() Data Sheet |
![]() Negotiable |
|
||||||||||||
![]() |
![]() MSP430×11×2 |
![]() Other |
![]() |
![]() Data Sheet |
![]() Negotiable |
|
||||||||||||
![]() |
![]() MSP430×12×2 |
![]() Other |
![]() |
![]() Data Sheet |
![]() Negotiable |
|
||||||||||||
![]() |
![]() MSP430×21×1 |
![]() Other |
![]() |
![]() Data Sheet |
![]() Negotiable |
|
||||||||||||
(China (Mainland))










