Product Summary
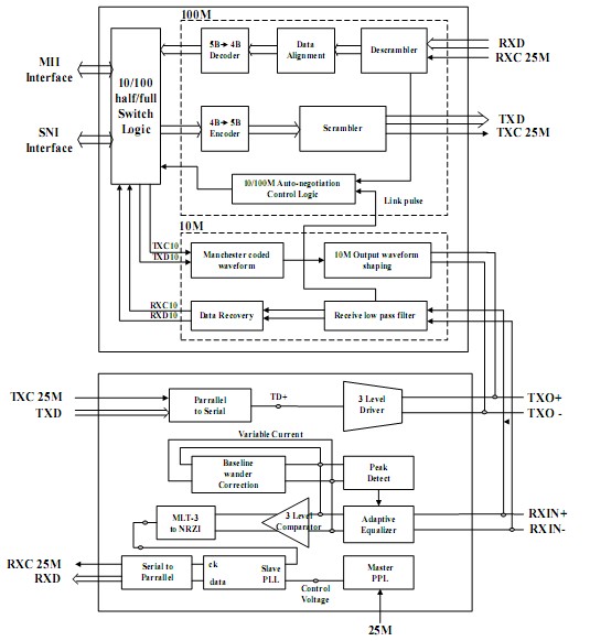
The RTL8201BL is a single-port Phyceiver with an MII (Media Independent Interface) /SNI (Serial Network Interface) . The RTL8201BL implements all 10/100M Ethernet Physical-layer functions including the Physical Coding Sublayer (PCS) , Physical Medium Attachment (PMA) , Twisted Pair Physical Medium Dependent Sublayer (TP-PMD), 10Base-Tx Encoder/Decoder and Twisted Pair Media Access Unit (TPMAU) . The RTL8201BL is fabricated with an advanced CMOS process to meet low voltage and low power requirements. The RTL8201BL can be used as a Network Interface Adapter, MAU, CNR, ACR, Ethernet Hub, Ethernet Switch. Additionally, it can be used in any embedded system with an Ethernet MAC that needs a twisted pair physical connection or fiber PECL interface to external 100Base-FX optical transceiver module.
Parametrics
RTL8201BL absolute maximum ratings: (1) Supply Voltage: 3.0V (Minimum) , 3.3V (Typical) , 3.6V (Maximum) ; (2) Storage Temp : -55°C (Minimum) , 125°C (Maximum); (3)Operating Temperature : 0°C to 70°C.
Features
RTL8201BL features: (1) Supports MII/7-wire SNI (Serial Network Interface) interface ; (2) Supports 10/100Mbps operation; (3) Supports half/full duplex operation; (4) Support of twisted pair or Fiber mode output; (5) IEEE 802.3/802.3u compliant; (6) Supports IEEE 802.3u clause 28 auto negotiation; (7) Supports power down mode; (8) Supports operation under Link Down Power Saving mode; (9) Supports Base Line Winder (BLW) compensation; (10) 25MHz crystal/oscillator as clock source; (11) Multiple network status LED support; (12) 48 pin LQFP package.
Diagrams

| Image | Part No | Mfg | Description | ![]() |
Pricing (USD) |
Quantity | ||||
|---|---|---|---|---|---|---|---|---|---|---|
![]() |
![]() RTL8201BL |
![]() Other |
![]() |
![]() Data Sheet |
![]() Negotiable |
|
||||
| Image | Part No | Mfg | Description | ![]() |
Pricing (USD) |
Quantity | ||||
![]() |
![]() RTL8019 |
![]() Other |
![]() |
![]() Data Sheet |
![]() Negotiable |
|
||||
![]() |
![]() RTL8019AS |
![]() Other |
![]() |
![]() Data Sheet |
![]() Negotiable |
|
||||
![]() |
![]() RTL8019AS-LF |
![]() Other |
![]() |
![]() Data Sheet |
![]() Negotiable |
|
||||
![]() |
![]() RTL8029AS |
![]() Other |
![]() |
![]() Data Sheet |
![]() Negotiable |
|
||||
![]() |
![]() RTL8100B(L) |
![]() Other |
![]() |
![]() Data Sheet |
![]() Negotiable |
|
||||
![]() |
![]() RTL8100C |
![]() Other |
![]() |
![]() Data Sheet |
![]() Negotiable |
|
||||
(China (Mainland))









