Product Summary
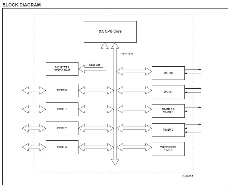
The PXAG30KBA 16-bit single-chip microcontroller is powerful enough to easily handle the requirements of high performance embedded applications, yet inexpensive enough to compete in the market for high-volume, low-cost applications. The PXAG30KBA provides an upward compatibility path for 80C51 users who need higher performance and 64k or more of program memory. Existing 80C51 code can also easily be translated to run on XA microcontrollers.
Parametrics
PXAG30KBA absolute maximum ratings: (1)Operating temperature under bias: –55 to +125 ℃; (2)Storage temperature range: –65 to +150 ℃; (3)Voltage on EA/VPP pin to VSS: 0 to +13.0 V; (4)Voltage on any other pin to VSS: –0.5 to VDD+0.5 V V; (5)Maximum IOL per I/O pin: 15 mA; (6)Power dissipation (based on package heat transfer limitations, not device power consumption): 1.5 W.
Features
PXAG30KBA features: (1)20-bit address range, 1 megabyte each program and data space. (Note that the XA architecture supports up to 24 bit addresses.); (2)2.7 V to 5.5 V operation; (3)512 bytes of on-chip data RAM; (4)Three counter/timers with enhanced features (equivalent to 80C51 T0, T1, and T2); (5)Watchdog timer; (6)Two enhanced UARTs; (7)Four 8-bit I/O ports with 4 programmable output configurations; (8)44-pin PLCC and 44-pin LQFP packages.
Diagrams

| Image | Part No | Mfg | Description | ![]() |
Pricing (USD) |
Quantity | ||||||||
|---|---|---|---|---|---|---|---|---|---|---|---|---|---|---|
![]() |
![]() PXAG30KBA |
![]() NXP Semiconductors |
![]() 16-bit Microcontrollers (MCU) XA 16BIT 512R/2UART ROMLESS |
![]() Data Sheet |
![]() Negotiable |
|
||||||||
![]() |
![]() PXAG30KBA,512 |
![]() NXP Semiconductors |
![]() 16-bit Microcontrollers (MCU) XA 16BIT 512R/2UART |
![]() Data Sheet |
![]()
|
|
||||||||
![]() |
![]() PXAG30KBA,529 |
![]() |
![]() IC XA MCU 16BIT ROMLESS 44-PLCC |
![]() Data Sheet |
![]() Negotiable |
|
||||||||
(China (Mainland))










