Product Summary
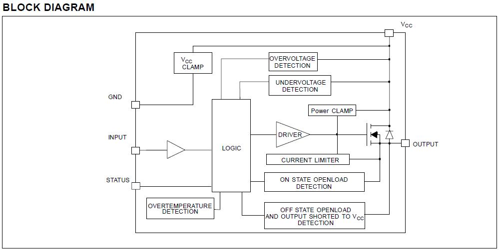
The VN820SP is a monolithic device which is made by using ST Microelectronics VIPower M0-3 Technology, intended for driving any kind of load with one side connected to ground. Active VCC pin voltage clamp protects the VN820SP against low energy spikes. Active current limitation combined with thermal shutdown and automatic restart protect the device against overload. The VN820SP detects open load condition both is on and off state. Output shorted to VCC is detected in the off state.
Parametrics
VN820SP absolute maximum ratings: (1)DC Supply Voltage: 41 V; (2)Reverse DC Supply Voltage: -0.3 V; (3)DC Reverse Ground Pin Current: -200 mA; (4)Reverse DC Output Current: -9 A; (5)DC Input Current: +/- 10 mA; (6)DC Status Current: +/- 10 mA; (7)Case Operating Temperature: - 40 to 150 ℃; (8)Storage Temperature: - 55 to 150 ℃.
Features
VN820SP features: (1)CMOS compatible input; (2)on state open load detection; (3)off state open load detection; (4)shorted load protection; (5)undervoltage and overvoltage shutdown; (6)protection against loss of ground; (7)very low stand-by current; (8)reverse battery protection.
Diagrams

| Image | Part No | Mfg | Description | ![]() |
Pricing (USD) |
Quantity | ||||||||||||
|---|---|---|---|---|---|---|---|---|---|---|---|---|---|---|---|---|---|---|
![]() |
![]() VN820SP |
![]() STMicroelectronics |
![]() Power Driver ICs 9A 36V High Side |
![]() Data Sheet |
![]()
|
|
||||||||||||
![]() |
![]() VN820SP13TR |
![]() STMicroelectronics |
![]() Power Driver ICs 9A 36V High Side |
![]() Data Sheet |
![]()
|
|
||||||||||||
![]() |
![]() VN820SPTR-E |
![]() STMicroelectronics |
![]() Power Driver ICs 9A 36V HIGH SIDE |
![]() Data Sheet |
![]()
|
|
||||||||||||
![]() |
![]() VN820SP-E |
![]() STMicroelectronics |
![]() Power Driver ICs 9A 36V HIGH SIDE |
![]() Data Sheet |
![]()
|
|
||||||||||||
(China (Mainland))









