Product Summary
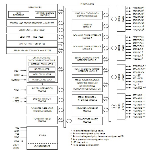
The MC908AP32CFBE is a member of the low-cost, high-performance M68HC08 Family of 8-bitmicrocontroller units (MCUs) . The The MC908AP32CFBE uses the enhanced M68HC08 central processor unit (CPU08) and are available with a variety of modules, memory sizes and types, and package types.
Parametrics
MC908AP32CFBE absolute maximum ratings: (1) Supply voltage VDD: -0.3V to 6.0V; (2) Input voltage IRQ1 All pins (except IRQ1): Vss -0.3to VDD +0.3V, IRQ1 pin Vin: Vss -0.3 to 8.5V; (3) Maximum current per pinexcluding VDD and Vss: ±25mA; (4) Maximum current out of Vss IMVSS: 100mA; (5) Maximum current into VDD, IMVDD: 100mA; (6) Storage temperature Tstg: -55 to 150°C.
Features
MC908AP32CFBE features: (1) High-performance M68HC08 architecture; (2) Maximum internal bus frequency: 8-MHz at 5V operating voltag; (3) User program FLASH memory with security feature; (4) Two 16-bit, 2-channel timer interface modules (TIM1 and TIM2) with selectable input capture, output compare, and PWM capability on each channel.
Diagrams

| Image | Part No | Mfg | Description | ![]() |
Pricing (USD) |
Quantity | ||||||||||||
|---|---|---|---|---|---|---|---|---|---|---|---|---|---|---|---|---|---|---|
![]() |
![]() MC908AP32CFBE |
![]() Freescale Semiconductor |
![]() 8-bit Microcontrollers (MCU) MCU 32K FLASH 10 BIT ADC |
![]() Data Sheet |
![]()
|
|
||||||||||||
![]() |
![]() MC908AP32CFBER |
![]() Freescale Semiconductor |
![]() 8-bit Microcontrollers (MCU) MCU 32K FLASH 10 BIT ADC |
![]() Data Sheet |
![]()
|
|
||||||||||||
(China (Mainland))









