Product Summary
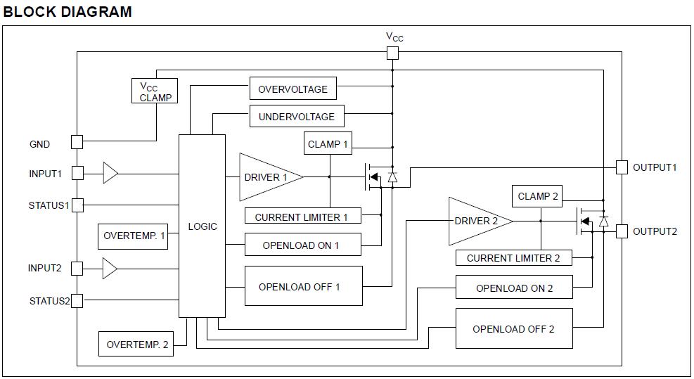
The VND830SP is a monolithic device which is made by using STMicroelectronics VIPower M0-3 Technology, intended for driving any kind of load with one side connected to ground. Active VCC pin voltage clamp protects the device against low energy spikes. Active current limitation combined with thermal shutdown and automatic restart protects the device against overload. The VND830SP detects open load condition both in on and off state.
Parametrics
VND830SP absolute maximum ratings: (1)DC Supply Voltage: 41 V; (2)Reverse DC Supply Voltage: - 0.3 V; (3)DC Reverse Ground Pin Current: - 200 mA; (4)Reverse DC Output Current: - 6 A; (5)DC Input Current: +/- 10 mA; (6)DC Status Current: +/- 10 mA; (7)Power Dissipation TC=25℃: 73.5 W; (8)Case Operating Temperature: - 40 to 150 ℃; (9)Storage Temperature: - 55 to 150 ℃.
Features
VND830SP features: (1)CMOS compatible inputs; (2)open drain status outputs; (3)on state open load detection; (4)off state open load detection; (5)shorted load protection; (6)undervoltage and overvoltage shutdown; (7)loss of ground protection; (8)very low stand-by current; (9)reverse battery protection.
Diagrams

| Image | Part No | Mfg | Description | ![]() |
Pricing (USD) |
Quantity | ||||||||||||
|---|---|---|---|---|---|---|---|---|---|---|---|---|---|---|---|---|---|---|
![]() |
![]() VND830SP |
![]() STMicroelectronics |
![]() Power Driver ICs Double Ch High Side |
![]() Data Sheet |
![]()
|
|
||||||||||||
![]() |
![]() VND830SP13TR |
![]() STMicroelectronics |
![]() Power Driver ICs Double Ch High Side |
![]() Data Sheet |
![]()
|
|
||||||||||||
![]() |
![]() VND830SPTR-E |
![]() STMicroelectronics |
![]() Power Driver ICs Double Ch High Side |
![]() Data Sheet |
![]()
|
|
||||||||||||
![]() |
![]() VND830SP-E |
![]() STMicroelectronics |
![]() Power Driver ICs Double Ch High Side |
![]() Data Sheet |
![]()
|
|
||||||||||||
(China (Mainland))









